Zavřít reklamu

Patenty týkající se Apple Pencil jsou poměrně běžné a čas od času se některé z nich objeví. Leckdy jde však o těžko představitelné kreace, které si Apple nechává patentovat jen jako uznání případného konceptu, který se nikdy nebude realizovat. Poslední přiznaný patent však patří do skupiny těch, které by se mohly v budoucnu objevit i v praxi.

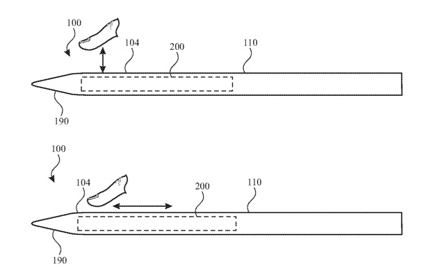
Americkým patentovým úřadem v prosinci přiznaný patent popisuje novou funkci Apple Pencil, která by uživatelům umožnila využívat pokročilé metody ovládání za pomocí velké dotykové plochy, jež by byla schopna rozeznávat hned několik typů gest.

Apple pencil patent 2020 2
Jsou to právě možnosti ovládání, které se s příchodem 2. generace Apple Pencil změnily. Současná 2. generace nabízí čidlo, které reaguje na poklepání prstem a dává uživateli možnost přepínat různé nástroje, nebo využívat jiné prvky v závislosti na používané aplikaci. Výše zmíněný patent jde ještě o kus dál a možnosti ovládání u popisované dotykové plochy by byly mnohem vetší.

apple pencil patent 2020

Dotyková plocha by se nacházela na místě, kde se při přirozeném úchopu nachází prsty uživatele. Ten by mohl využívat hned několika odlišných gest, od jednoduchého poklepání, přes posouvání, stlačení apod. Dotyková plocha by měla být schopná odlišit, zda-li jde o cílené gesto, nebo zda se prsty plochy jen volně dotýkají při běžném použití Apple Pencil. Nové možnosti ovládání by měly rozšířit paletu možností, kterou má uživatel využívající Apple Pencil k dispozici. Nemusel by tak nástroje a další volby volit ručně na displeji iPadu.

Zdroj: Appleinsider

.