Zavřít reklamu

V současnosti existují čtyři klíčové oblasti lidského bytí, ve kterém se chtějí technologické společnosti patřičně angažovat. Jde o domov, pracoviště, auto a posilovny či fitness centra. Když tyto oblasti vezmete a použijete je na produktovou strategii společnosti Apple, můžete vidět některé zřejmé souvislosti. Mac, iPhone a iPad vládnou spíše pracovišti, méně už domácnosti. Posilovnu vlastní Apple Watch a AirPods. Zbyde vám auto a domov, tedy dvě místa, kde se je ještě jistý prostor. 

Jestli se dočkáme samotného Apple Car je těžké soudit. Minimálně Car Play ale nasazuje snad již každá značka. S domácností to také nijak slavné není. Najdeme zde sice Apple TV a Homepod mini, tím to ale začíná i končí. Co by zde však mohl Apple udělat pro to, aby byla automatizace našich domácností ještě jednodušší než kdy jindy? Odpověď není složitá. Společnost by mohla vyrobit vlastní žárovky, vypínače, zásuvky, zámky, kamery a samozřejmě také routery.

Aktuální neveselá situace 

Amazon vyrábí spoustu produktů, jako je vlastní termostat, zásuvky, kamery, a dokonce i chytrý dávkovač mýdla. Tento ekosystém je v současnosti samozřejmě lepší než ten Applu, i když jeho platformu HomeKit integrovalo mnoho výrobců, můžete za jejich kvalitu dát ruku do ohně? Pokud bude na produktu „nálepka“ Apple, je jasné, že ano. HomeKit příslušenství třetí strany je pořád vyrobeno někým úplně jiným, jen má jistou certifikaci.

Aby byl HomeKit skutečně úspěšný, musí dát společnost spotřebitelům jasnou a tu nejlepší možnou volbu koupě. S HomePodem by tak každý do košíku (ať už fyzického nebo virtuálního), hodil sadu žárovek, kameru, chytrý zámek a klidně i router, který ostatně dříve Apple i dělal. A teď si představte tu aktivaci takových zařízení, které by mohlo probíhat jako v případě AirPodů. Nic jednoduššího jednoduše není. Tedy možná ano, a to zcela automatickou konfigurací.

Automatická konfigurace 

Každý, kdo někdy nastavoval nová zařízení pro chytrou domácnost, ví, že to s HomeKit zařízeními může být i někdy frustrující zážitek. Patentovaný systém by však měl umět vše určit automaticky. Chytře by mohl vygenerovat půdorys místnosti (i budovy) na základě základních dat a vzdáleností bez nutného vstupu nebo interakce uživatele. Jakmile by totiž znal půdorys, mohl by inteligentně odhadovat účel každého nového kusu přidané sady pro chytrou domácnost.

Homekit

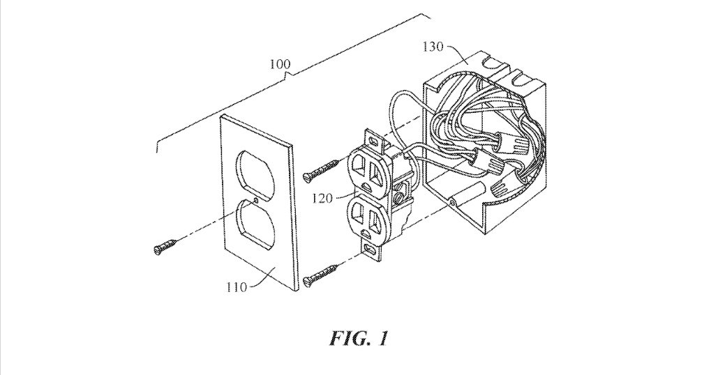
Modulární nástěnný panel zde představuje některé standardní základní jednotky, jako jsou zásuvky a vypínače, do kterých můžete zasunout různé hardwarové jednotky nebo je jimi ovládat. Hardwarové zařízení pak váš chytrý dům automaticky zjistí, stejně jako to, co by měly dělat. Patent na „chytrou“ zásuvku ostatně už Apple má.

homekit

Další možné produkty 

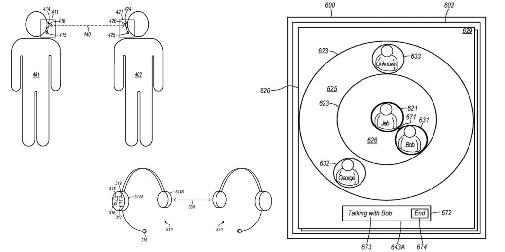
Apple poprvé představil funkci interkomu, i když pojmenovanou jako vysílačka, v Apple Watch. O pár let později přišel s pokročilejší verzí v HomePodu. Jeho patentová přihláška však popisuje, jak by společnost mohla přinést další pokročilejší formu jeho formu – ve sluchátkách, tedy typicky AirPodech, a to v hlučném prostředí nebo v době „covidové“, kdy více osob sdílí stejnou domácnost, ale nemohou být v těsné blízkosti.

homekit

Poslední rok se ostatně hojně spekulovalo i o příchodu HomePodu kombinovaného s Apple TV. Bylo tak ještě před jarní konferenci, na které jsme se však dočkali jen nové Apple TV 4K. Je poměrně škoda, že s takovými zdroji a možnostmi, jako Apple má, je jeho portfolio chytré domácnosti tak strohé. Snad se brzy dočkáme razantního rozšíření. Takové jarní Keynote zaměřená čistě na domácnost by byla rozhodně přínosem.

.