Během víkendu se na webu objevily informace o dvojici nových patentů, které by mohly naznačovat směr, kterým se Apple udává. Jeden z nich se týká nového provedení Lightning konektoru, který by nově nabízel řešení jež bude disponovat kompletní voděodolností, druhý patent pak řeší často omílané problémy týkající se nových butterfly klávesnic v MacBoocíc a jejich odolnosti vůči nečistotám, prachu apod.
Mohlo by vás zajímat
Začněme u nového návrhu Lightning konektoru. Toto patentové podání, které spatřilo světlo světa nyní o víkendu, ukazuje způsob, jakým by mohl Apple zlepšit voděodolnost svých zařízení. První oficiálně voděodolný iPhone Apple představil v roce 2015, ve formě iPhonu 6S, jež disponoval certifikací IP67. Nový návrh Lightning konektoru by mohl Applu pomoci s vyšším stupněm certifikace.
Mohlo by vás zajímat
Jak si můžete prohlédnout na obrázku níže, konec konektoru je značně přepracovaný. Nachází se zde rozšiřující část, která způsobí zaplnění prostoru uvnitř portu a následně jeho utěsnění. Díky tomu by se dovnitř neměla dostat voda a vlhkost. Je pravděpodobné, že půjde o nějaký kus silikonu či podobnému materiálu.
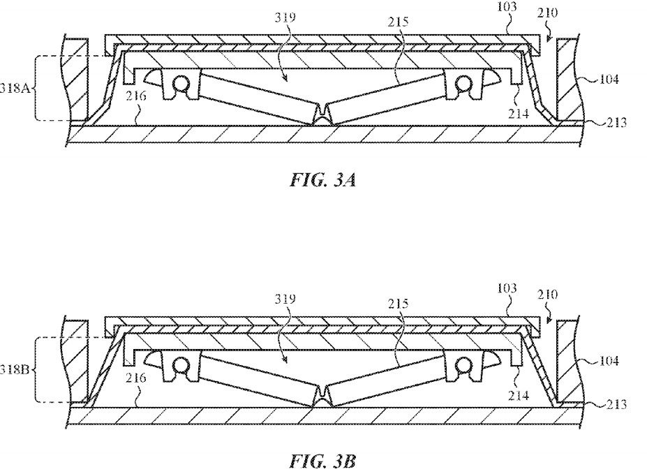
Druhý patent je poněkud staršího data, na veřejnost se však dostal nyní. Původní žádost byla podána na konci roku 2016 a patent se týká inovovaného designu tzv. butterfly klávesnic, které by měly být více odolné vůči nečistotám. Jsou to právě nečistoty, které mají tendence nové klávesnice poškozovat což je jev, na který si v případě nových MacBooků stěžuje velké množství uživatelů.
Stačí jen malý drobek či pevnější smítko prachu, které zapadne pod klávesu a vzpříčí zdvihací mechanismus či nějakým jiným způsobem naruší chod jednotlivých kláves. Nové řešení zmíněné v patentu by mělo upravit lůžko pro uložení jednotlivých kláves, v rámci kterého by se měla nacházet další speciální membrána, která případnému vniknutí nežádoucích částeček do prostoru pod klávesnicí zabrání. V obou případech zmíněných výše jde o praktické řešení, které by jistě mnoho uživatelů jak iPhonů a iPadů, tak MacBooků uvítalo. Nabíjení ve vlhku asi tolik uživatelů netrápí, potíže s klávesnicemi nových Maců má však poměrně dost uživatelů. Řadíte se mezi ně také?